TAPERLESS CENTER PINS
TAPERLESS ONE-STEP CENTER PINS

![]() |
![]() |
Center pin shaft dia- meter tole- rance |
Appli- cable ejector sleeve hoel(V) tole- rance |
|||||
|---|---|---|---|---|---|---|---|---|
![]() |
||||||||
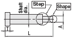
***Tip(A) tolerance ![]() |
Tip(A) tolerance ![]() |
|||||||
| Material | Head Thick- ness (T) |
Shaft diameter tolerance |
Shaft diameter (D) selection type |
Shaft diameter (P) 0.01mm increments |
Shaft diameter (D) selection type |
Shaft diameter (P) 0.01mm increments |
||
![]() |
4mm (T4) |
0 -0.005 |
CPHS-5□ | CPHSG-5□ | CPVS-5□ | CPVSG-5□ | 0 -0.005 |
+0.005 0 |
| -0.01 -0.02 |
CPHSE-5□ | CPHSGE-5□ | CPVSE-5□ | CPVSGE-5□ | -0.01 -0.02 |
+0.01 0 or H7 |
||
| 6·8mm (JIS) |
0 -0.005 |
CPHSJ-5□ | CPHSJG-5□ | CPVSJ-5□ | CPVSJG-5□ | 0 -0.005 |
+0.005 0 |
|
| -0.01 -0.02 |
CPHSJE-5□ | CPHSJGE-5□ | CPVSJE-5□ | CPVSJGE-5□ | -0.01 -0.02 |
+0.01 0 or H7 |
||
![]() |
4mm (T4) |
*Reference tolerance -0.01 -0.02 |
CPNS-5□ | ** CPNSG-5□ |
- | - | -0.01 -0.02 |
+0.01 0 or H7 |
| 6·8mm (JIS) |
CPJS-5□ | ** CPJSG-5□ |
- | - | ||||
![]() |
4mm (T4) |
*Reference tolerance -0.01 -0.02 |
RDCPNS-5□ | - | - | - | -0.01 -0.02 |
+0.01 0 or H7 |
| 6·8mm (JIS) |
RDCPJS-5□ | - | - | - | ||||
**For
,the shaft diameter is designated by 0.1 mm increments.***For
,tip(A) tolerance is
.TAPERLESS ONE-STEP CENTER PINS WITH COOLING HOLE

| Material | SKD61 equivalent +Nitrided |
Head | 4mm(T4) 6·8mm(JIS) | |||
| Part No. | RDCPNS-5□ RDCPJS-5□ | Tip | ![]() |
| Shape | Material | Part Number | Page | |
|---|---|---|---|---|
STEPPED ONE-STEP CENTER PINS![]() |
SKH51 equivalent | CPHB-5□ CPHBJ-5□ CPVB-5□ CPVBJ-5□ |
Listed in stepped center pin index |
- |
| SKD61 equivalent + Nitrided |
CPNB-5□ CPJB-5□ |
- | ||
| SKD61 equivalent | CPDB-5□ | Published on Internet | ||
TWO-STEP CENTER PINS·STEPPED TWO-STEP CENTER PINS![]() |
SKH51 equivalent | C□H5□ C□HE5□ |
- | |
| C□HB5□ | - | |||
Selection Method for Taperless One-step Center Pins
Material characteristics of taperless center pins
| Material | High Speed Steel SKH51 |
Dies Steel SKD61+Nitrided |
|
|---|---|---|---|
| Hardness HRC | 58~60 | Surface base:900HV~ material:40~45 |
|
| Machining characteristics |
Wear resistance | 5 | 4 |
| Ability to be mirror-finished | 4 | 3 | |
| Toughness | 3 | 4 | |
| Corrosion resistance | 3 | 3 | |
| Physical characteristics |
Density [g/cm3] | 8.2 | 7.75 |
| Modulus of longitudinal elasticity [kgf/mm2] | 22300 | 21000 | |
| Coefficient of thermal expansion [×10-6/°C] | 10.1 | 10.8 | |
| Thermal conductivity [cal/cm·sec·°C] | 0.051 | 0.061 | |
| Mechanical characteristics |
Tensile strength [kgf/mm2] | 235 | 135 |
| Charpy Impact Values [kgf·m/cm2] | 2 | 4 | |

Conversion formula
1kgf/mm2=9.81N/mm2
1cal/cm·sec·°C=418.6W/M.K
1kgf·m/cm2=9.81J/cm2
Use these data for reference only as they are dependent
on specific heat treatment and usage conditions.

















